カメラのキタムラスタジオマリオカメラのキタムラ

デジカメプリント・フォトブック・カメラのことはおまかせ!

閉じる

ママカメラマン山ちゃんの写真教室コラム・ギャラリー

年賀状用写真Vol.041 2011年12月09日更新

あっという間に師走。「はやく年賀状を作らなければ」と気ばかりはあせるものの毎年ギリギリ。
いつも「もっと早くやっておけば…」の繰り返し。
我が家ではたいてい子供の写真を使って年賀状を作っています。
家族写真を使ったり、結婚や出産の報告を兼ねて作る人も多いのではないでしょうか。
今回は年賀状用写真を撮ってみましょう。

作例

作例

写真のプリントを撮る

私がよく使う年賀状写真は子供の写真です。
そのままではつまらないので大抵プリントした写真に小物を添えて写真を撮る、という方法をとっています。作例は何年か前の我が家の年賀状用写真です。モノを撮る写真のことを業界ではブツ撮りと呼んでいますが今回はこの作例を撮ったときの手順とコツを説明します。


用意するもの

  • 下に敷く布、紙など
    (作例では和紙)
  • 写真のプリント
    (作例は七五三ですが、家族写真でも何でもいいと思います)
  • 写真に添える小物
    (作例は100均で買ったお正月飾りですが花なんかもいいかも)
  • レフ板
    (普段は発砲スチロール板を使用、でも白い大きな紙でもOK。カレンダーの裏や、ダンボールに白い紙をはりつけたようなものでも大丈夫)

場所

なるべく大きな窓のある部屋がベスト。窓の近くで撮る。

手順

  • まずは窓のそばに下地するにする紙を敷きます。折り目などができないように注意しましょう。
  • 写真をおきます。写真の表面に反射が出ないようにしましょう。もし何かが映りこむようだったら下になにか(山岡がよく使うのは丸めたセロテープ)入れでちょっとだけ傾きをつけて調整しましょう。
  • 小物の位置を決めて置く。小物はあまりたくさんありすぎるとゴチャゴチャになってしまいます。とりあえず2個の小物を対角線上に配置すると無難です。
  • レフ板で影をやわらかくする。レフ板はなるべく写真の近くに立てましょう。そのほうが影をやわらかくするには効果的です。
  • 真上から写真を撮ります。


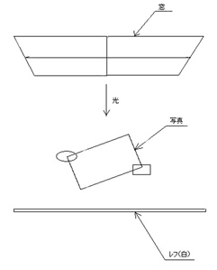
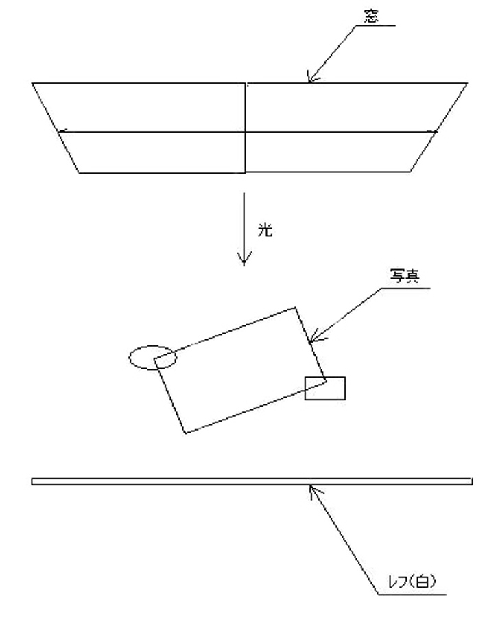
ライティング図(上から見た)

ライティング図(上から見た)

ライティング

ライティングは図のような状態です。レフは大きいほうが効果があります。私が使ったのは70×50センチくらいの発泡スチロール板ですが、被写体が小さなL判のプリントですからA3くらいの紙でも大丈夫だと思います。そのかわり小さなレフ板を使うときは画面にギリギリ入らないくらいに近づけてください。あとはこの写真を使ってハガキにプリントすればOKです。先週紹介した「写真に文字を入れる」方法を使って文字を入れてもいいでしょう。その場合はあらかじめ文字を入れるスペースをあけて撮影しておくといいでしょう。

ご自身で作成したデザインを高品質に仕上げます!【MYデザイン年賀状】
ご自身でデザインした年賀状も高品質に仕上げます


山ちゃんにリクエストお待ちしています!

こんな撮影がしたいけど、どうやって撮ればいいの?など、ママカメラマン山ちゃんに撮影テクニックのリクエストを大募集中です!

リクエストはtwitterからキタムラあてにつぶやいてください!
カメラのキタムラtwitter


LINEで送る